2次歪み打ち消し


はじめに

私が初めて作ったアンプは6GW8シングルでした。今から28年前の話です.部品点数も少なく,面倒な調整もなしに簡単に組み上がったことを覚えています.当時の私にとって,プッシュプルアンプは複雑でとても難しそうに思えたものです.今でも,初心者にとってより親しみやすいのはシングルアンプに違いないでしょう.しかし,シングル・アンプというのは,ある一定以上の水準のものを作ろうとすると,設計・製作に結構高度なテクニックが要求されます.プッシュプルアンプならば,歪みや電源ハムの打ち消し効果を大いに期待できるのに,シングルアンプときたら全く駄目です.パワーは小さいし,低域特性に至っては情けない限りです.といった具合ですから,アンプ作りはシングルに始まってシングルに終わる,と言っても誇張ではないと思います.それにしても,出力管シングル動作の歪みの多さは何とかならないものでしょうか.

この記事は、無線と実験○○年○月号のサイドワインダーに掲載され(いつだったのか忘れました)、同年の「サイドワインダー・オブ・ザ・イヤー」に選ばれました.


シングルアンプと2次歪み

一般に,プッシュプル回路では,最大出力付近では歪みが急激に増加しますが,それ以下の出力ではかなり小さくなります.一方,3極管シングル回路の場合,歪みのほとんどは2次歪みですから,その性質上出力に対してほぼ直線的に増加します.見方を変えると,出力が少々下がっても歪みはだらだらと下がるばかりで,なかなか小さくなってはくれません.

例えば,6G-A4の場合,東芝ハンドブックによると出力2.2W時に5%ですが,0.78Wの時でも2.25%もあります.これでは,少々の負帰還をかけた位では全然駄目という感じがします.最大出力付近の歪みが大きくなるのは仕方ないとしても,家庭での通常聴取レベルでの歪みは何とか小さく抑えたいものです.

シングル回路の2次歪みを小さくする手法として,ドライバ段との間で打ち消しを行うという方法があります.しかしながら,出力段で発生する2次歪みの量とドライバ段で発生する2次歪みの量がうまくバランスしてきれいに打ち消されることは希です.

EL34(3結)や6G-A4では,出力段で発生する2次歪みが大きめなのに,入力感度が高いためにドライバ段が相対的に低歪みになってしまい,充分な2次歪みを得るためにさまざまな苦労が発生します.

ドライバ段の2次歪 > 出力段の2次歪

反対に2A3や300B等の直熱3極管では逆の現象が起こって,ドライバ段の歪みの方が大きくなってしまい打ち消し過剰となりがちです.

ドライバ段の2次歪 < 出力段の2次歪

たとえば、5687で6B4G(2A3)をドライブした場合を考えます.6B4Gのグリッドに6.7Vの信号を入力した場合、OPTの2次側(16Ω)では0.8Vの出力電圧が得られましたが、その時の出力段だけで発生した歪みは0.26%でした.一方、5687のドライバ段が出力段に6.7Vの信号を送り込もうとした際に、ドライバ段だけで発生する歪みは0.64%もありました.

ドライバ段の歪(0.64%) > 出力段の歪(0.26%)

どちらの歪みもその成分の大半は2次歪みでしたが、このような場合、出力段で発生する歪みはドライバ段で発生する歪みによって打ち消されるどころか、打ち消し過剰となってドライバ段での歪みが勝ってしまいます.

今回はその逆のにテーマを絞っていろいろと実験してみました.


2次歪み打消し法のヴァリエーション

従来,ドライバ段の2次歪みを多く発生させるためにさまざまな試みがなされてきています.直線性の悪い電圧増幅管を捜し求めたり,ドライバ段のバイアスをカットオフ領域近くまで深くしたり‥‥.そうして適当な打ち消しのバランスが得られても,同種の別の球に差し替えると,再び調整のやり直しということになってしまいます.

発想を変えて,出力段の感度を悪くするという方法も考えられます.2次歪みは出力電圧にほぼ比例するという性質を利用するわけです.ドライバ段の出力電圧を高く設定してやれば,ドライバ段に無理な動作をさせなても充分な2次歪みが安定して得られます.そこで,出力段との間にアッテネータを設けて信号電圧をドロップさせ,見かけ上の出力段の感度を悪くするわけです.打ち消しの調整はずっと簡単になりますが,結合インピーダンスが上昇してしまって,高域特性は悪化し,しかも出力管を充分ドライブできなくなってしまいます.この方法は生理的に抵抗があり,やってみようという気はちょっと起きません.

では,出力段にカソード帰還をかけるという方法はどうでしょうか.この方法ですと帰還量に応じて出力段の感度が悪くなる,と同時に出力段の2次歪みが少し小さくなります.ということは,ドライバ段で無理して大きな2次歪みを発生させなくても,出力段の入力感度が悪くなった分ドライバ段の歪みが適度に増加してくれて,出力段との間でうまく打ち消しができるかも知れません.

打ち消し方法特徴/問題点
1.ドライバー管のバイアスを深くして,動作点をカットオフ領域に近づけることにより,より多くの2次歪みを発生させる.・最大出力電圧が低下し,パワー管をフルドライブできなくなる可能性がある.
・管種やばらつき,劣化によって最適ポイントがクリティカルに変動するため調整が難しい.
・ドライバー管の増幅度が低下し、ばらつきが生じる.
・ドライバー管の内部抵抗が高くなる領域なので,高域特性やドライブ能力が低下する.
2.ドライバー管のプレート負荷抵抗値を小さくして,より多くの2次歪みみを発生させる.・最大出力電圧が低下し,パワー管をフルドライブできなくなる可能性がある.
・ドライバー管の増幅度が低下する.
・最適な条件を探すのに手間がかかる.
3.ドライバー段と出力段との間に,抵抗によるアッテネーターを挿入する.・パワー管をフルドライブできなくなる可能性がある.
・ドライブ・インピーダンスが上昇して高域特性が劣化する.
・どうにも好きになれない.
4.出力段にKNFをかけ,ドライバー段との間でバランスをとる.・1〜3いずれの問題も発生しない.
・OPTの2次巻き線の都合上,回路構成が制約される.
・OPTの4〜16Ω巻き線を使うと細かい調整ができそうである.


実験アンプについて

実験には,その2で紹介した6G-A4汎用シングル・アンプその2を使用することにしました.6G-A4は,東芝が開発した純国産オーディオ用3極管で,ベースとなったのはテレビ用垂直発振増幅管6BX7-GTです.6BX7-GTは,直線性が相当に悪くシングルアンプの出力段に使用すると2次歪みを盛大に発生します.6G-A4ではこの問題がかなり改善されていますが,それでも2A3のような直熱型3極管には遠く及びません.

6G-A4シングルは一聴してわかる2次歪み含みの音の特徴を持っています.2次歪みを多く含んだ音は,不快感はあまりないのですが,やはりそれとわかる色があります.これが6BX7-GTシングルともなると,流石にその色の濃さが耳に障るようになります.


歪み打ち消しのメカニズム

さて,ドライバ段と出力段との間で2次歪みの打ち消しを行う場合,一体,各段それぞれにおいてどの程度の歪みが発生しているのかが問題となります.そこで,OPTの二次出力側が0.1W(1.265V/16Ω)一定とした時の各段での信号電圧と歪み率を測定することにしました(下表).

出力段KNF入力信号
電圧
初段+
ドライバ段
歪率(1kHz)
ドライバ-
出力段
信号電圧
出力段
歪率(1kHz)
出力信号
電圧
(0.1W/16Ω)
初段+
ドライバ段+
出力段
歪率(1kHz)
なし(0.0dB)16.0mV0.35% 3.20V1.30%1.265V0.99%
(1.5dB)19.1mV0.40% 3.80V1.06%1.265V0.67%
(2.2dB)20.5mV0.43% 4.10V0.98%1.265V0.56%
16Ω(2.9dB)22.3mV0.46% 4.45V0.89%1.265V0.45%
32Ω(4.0dB)25.5mV0.52% 5.10V0.77%1.265V0.29%

表の見方は次のとおりです.出力段KNFが「なし」の場合を例にとると,出力0.1Wを得るための6G-A4の第1グリッド入力信号電圧は3.20Vで,その時出力段で発生する歪みは1.30%です.一方,出力段に3.20Vを送り込もうとした時,初段+ドライバ段で発生する歪みは0.35%です.そして,初段+ドライバ段+出力段の通しの歪み率(すなわち歪みを打ち消し合った結果)は0.99%ということになります.

出力段KNF量を増やしてゆくにつれて出力段に必要な入力信号電圧が高くなってゆき,出力段で発生する歪みが減ってゆくとともに,前段の歪みがじわじわと増えてゆきます.その結果、通しの歪み率がどんどん減ってゆく様子がわかります(グラフ).

「32Ω」の時打消し効果が最も高くなり,通しの歪み率は0.29%ですから「なし」の時の1/3以下になっています.KNF量は4.0dBです.ここは是非とも40Ω以上のタップが欲しいところですがそうもゆきません.ドライバ段のバイアスを深くしてみたい欲求にかられますが,このあたりが手の打ちどころです.

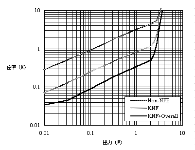
歪み率の対出力推移をいちばん下に添付しました.0.01W〜2Wにわたって安定した打消し効果が得られています.0.03W以下で線が折れているのは,測定系の残留歪みによるものです.ドライバ段のバイアスをカットオフ領域まで深くした方法による打消しではなかなかこのような直線にはならず,くねった曲線になりますし,球を差し替えると全く異なった特性になってしまいます.

最後にOPT二次側16Ωタップから初段FETソースへオーバーオールNFBをかけます.従って,OPTにはNFB用専用捲き線は必要ありません.3段構成とすることにより初段ソースと出力段カソードが同相となるところがミソです.2段構成ではこの手は使えません.NFB量は7.7dBです.


おわりに

今回の実験で最も大変だったのは,上表のデータをとるための作業でした.ドライバ段と出力段との間で回路を切ったり繋いだりしながら、そしてKNFポイントを切り換えながらの測定はほんとうに骨が折れました.歪み率計を挿入した際の回路インピーダンスの変化も補正しなければなりませんでした.

苦労の甲斐あって,歪みの打消しは思惑どおりうまくゆきましたし,最終物理特性も満足のゆくものでした.歪みの打消しメカニズムを実感できたのも大きな成果でした.


6G-A4 シングル・アンプ NFBによる歪み率低減効果

KNFをかける:
NFB量はわずか4dBですが、歪み率は1/3以下に減っています。これは、KNFをかけたことによってドライバ段と出力段間の2次歪みの打ち消しバランスが良くなったためです。

オーバーオールNFもかける:
NFB量は7.7dBで、歪み率はかかったNFBに比例して(月並みに)減少しています。

いずれの場合も、微少出力から最大出力に至るまで、ほぼ一定の打ち消し効果が得られている点が興味深いです。

測定条件:1kHz、16Ω負荷時、R-ch


おわり